
LGZ

PGZ
LGZ/PGZ系列离心机是一种含有高科技含量的离心分离机械,具有多种配置可选择,可实现全自动程序控制,具有无菌卫生、密闭防爆、多重安全保护、多种配置选择等特点,广泛应用于制药、精细化工、食品等行业。
工作原理
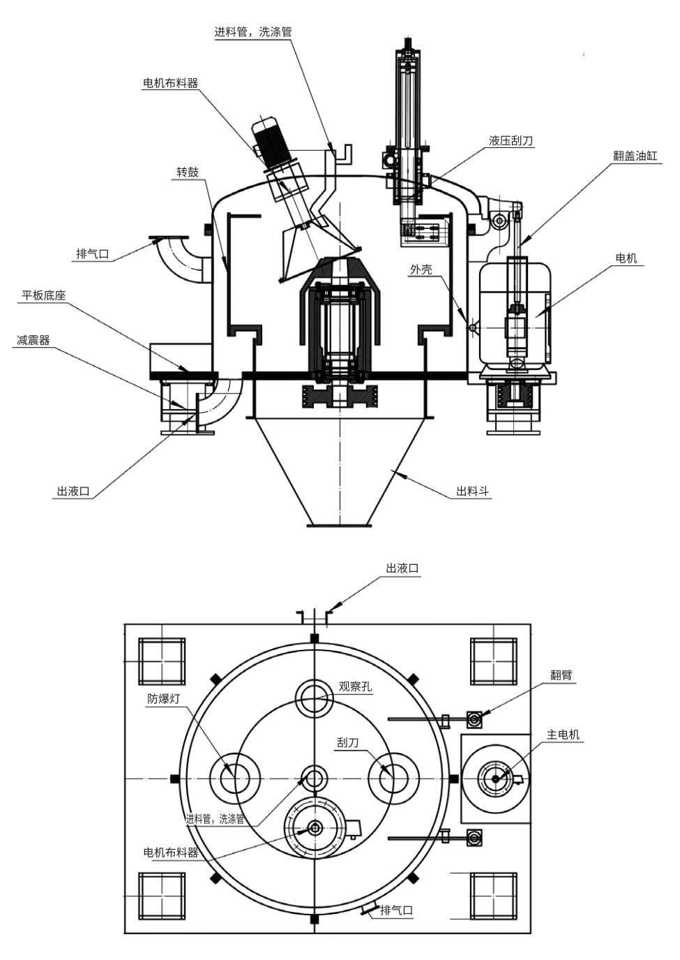
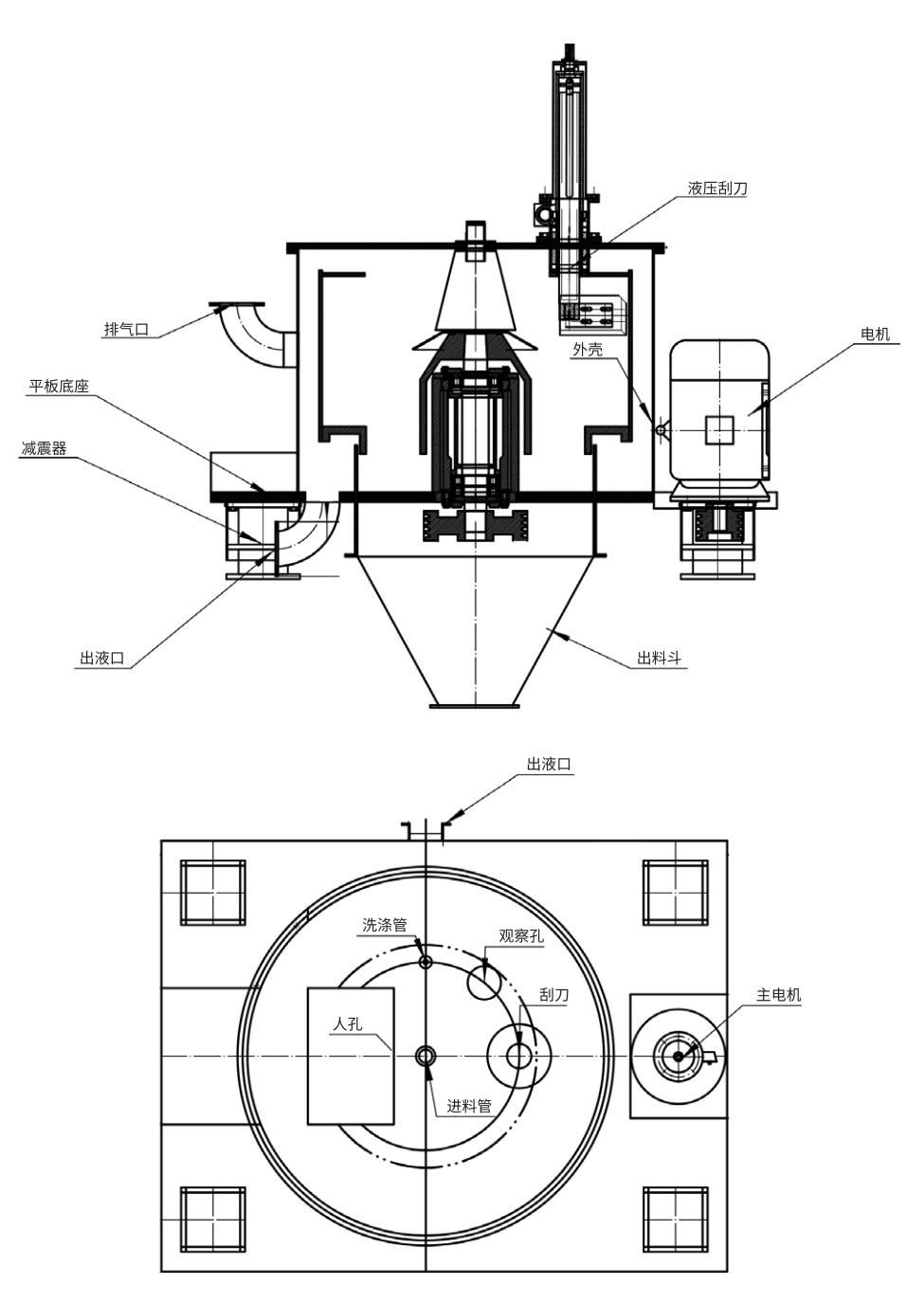
刮刀下部卸料离心机为立式全自动过滤离心机。电机通过皮带驱动转鼓高速旋转,待分离的物料在预先编制的程序控制下,通过进料系统进入高速旋转的离心机转鼓内。在离心力场的作用下,物料通过过滤介质(滤布/滤网)的过滤,液相经出液管排出机外,固相则被截留在转鼓内。物料检测装置实时检测物料充填位置,当转鼓内滤饼达到机器规定的装料量时,停止进料。然后对滤饼进行洗涤、甩干。滤饼达到脱液要求后,离心机降低到刮料速度,刮刀装置在液(气)动控制下将滤饼刮下,并经离心机下部的出料口排出。

主要用途
主要用于含有固相颗粒的悬浮液的固液分离,也可以用于纤维状物料的固液分离。特别是对粘度高、粒度细、有毒、易燃易爆物料的分离。如抗生素、维生素、医药中间体等医药产品,食盐、味精、食品添加剂、淀粉、制糖、化学调味剂等食品,硫铵、石膏、芒硝、硫酸铜、氯化钾、硼砂、染料、颜料、树脂、农药药剂等化工原料,以及矿山环保等行业中的固液分离工作。离心机自动化程度高,处理量大,可实现远程控制。
工作流程

LGZ/PGZ离心机主要特点
1.平板式结构,机器重心低,运行平稳;四点支撑、液态阻尼减振、无基础安装形式,改善隔振和减振性能
2.独立式斜盘布料装置,加料均匀并可控。
3.气体反冲及气体辅助刮刀装置,使残余滤饼降低至最少,以利滤布再生。
4.氮气保护系统,适用于防爆场合。
5.大翻盖或全翻盖结构,离心机内腔设置清洗装置,对离心机进行在线清洗,避免产品交叉污染。
6.多重安全保护装置:过振动保护、过电流保护、温控保护、料层控制、刮刀行程保护、开盖保护机械和电气联锁保护,各种警示和敬告标识。
7.PLC程序控制、触摸屏、变频器控制、能耗制动、回馈制动、设备故障自我诊断,自动化人机界面控制,DCS控制接口。
8.内外表面抛光处理,表面粗糙度可达Ra0.2~0.4μm,符合cGMP规范。


配置选择说明
1.外形结构:大开盖、全开盖及平盖多种结构
2.布料方式:斜盘布料器、侧向布料管、中间布料管
3.洗涤方式:雾化喷咀洗涤、布料盘洗涤、脉冲式洗涤
4.刮刀卸料:气动、液压
5.电机驱动:普通电机、变频电机、防爆电机、能耗制动或回馈制动
6.安全防护:氮气保护系统、防爆、振动保护、温度保护、机电联锁、速度监测,过载保护
7.表面处理:镜面抛光、亚光处理、钝化处理
8.电气元件:品牌供应
9.残余滤饼处理:气体反吹及气体辅助刮刀、滚轮装置
10.程序控制:可编程序控制方式、料位检测装置
11.在线清洗:清洗球、喷淋管
12.氮气保护:自动供氮装置、氧含量检测装置、液封装置、气液分离器
13.涂层处理:衬HALAR、衬PE

LGZ/PGZ系列离心机技术参数
| 项目 | 型号 | |||||
| LGZ/PGZ 800 | LGZ/PGZ 1000 | LGZ/PGZ 1250 | LGZ/PGZ 1500 | LGZ/PGZ 1600 | LGZ/PGZ 1800 | |
| 转鼓直径(mm) | 800 | 1000 | 1250 | 1500 | 1600 | 1800 |
| 转鼓容积(L) | 100 | 190 | 400 | 600 | 800 | 1000 |
| 最大装料限量(kg) | 135 | 255 | 500 | 700 | 1000 | 1250 |
| 转鼓转速(r/min) | 1200 | 1100 | 1000 | 950 | 850 | 800 |
| 分离因数 | 645 | 677 | 700 | 700 | 647 | 645 |
| 电机功率(kw) | 7.5 | 15 | 22 | 30 | 37 | 55 |
| 外形尺寸(LxWxH)(mm) | 1900*1250*1900 | 2100*1500*2250 | 2300*1800*2500 | 2800*2200*2800 | 3000*2200*2900 | 3500*2500*3400 |
| 机器重量(kg) | 2000 | 3200 | 4200 | 8000 | 10000 | 17000 |