
LGZ

PGZ
LGZ/PGZ series centrifuge is a type of centrifugal separation machinery with high scientific content, and several configuration options are available. Featuring asepsis, sanitation, enclosed explosion-proof, multiple safety protections and several configuration options, this series centrifuge is controlled by a fully-automatic program, and has been widely used in such industries as pharmacy, fine chemistry and food.
Operating principl
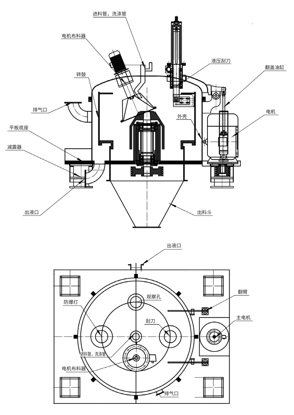
The automatic bottom discharge scraper centrifuge is vertical fully - automatic filtration centrifuge. The motor drives the basket to rotate at high speed through the belt, and under the control of pre - written program, the material to be separated is fed into the basket through the feed system. After the material is filtered through the filtration medium (filter cloth/screen) under the action of centrifugal force, the liquid phase discharges out of the centrifuge through the liquid pipeline, and the solid phase is retained in the basket. A material detection device is used to detected material flling position in real-time manner, and when the solid cake deposited in the basket reaches the specitfied holding capacity of the centrifuge, feeding stops. Then wash and dry the solid cake. After the solid cake meets requirements for knock-out, the centrifuge reduces to the scraping rate, under the hydraulic (pneumatic) control, the scraper device removes the solid cake, and then the cake is discharged at bottom outlet of the centrifuge.

Applications
Apply to separating the suspension containing particles, but also fibers, especially the highly sticky, containing micro particles, poisonous and flammable materials, like antibiotics, vitamins, and minerals, salts, gourmet powders, foodstuff additives, amylum, sugar, chemical flavors, thiamin, plasters, Glauber's salt, bluestone, potassium chloride, borax, dyestuffs, pigment, resin, pesticides, and environmental protection. The centrifuge is highly automated, has large capacity and can be remote-controlled.
Operating process

Main features of LGZ/PGZ centrifuge
1.Platform base structure could lower the center of gravity and stabillize the machine. 4-point supporting, liquid vibration damping and no-foundation installation form, improved the vibration isolation and damping performance.
2.Independent inclined feed disk, even and controlled feed
3.Air recoil and pneumatic auxiliary scraper: Minimizing the residual solid cake to facilitate filtering cloth regeneration.
4.Nitrogen protection system: Applicable to anti - explosion applications
5.Big hinged cover and fully hinged cover constructions:Cleaning device is set inside centrifuge cavity to make online cleaning for the centrifuge and thus to avoiding cross contamination against the products
6.Multiple safety protection devices: over-vibration protection, over-current protection, thermal control protection, cake layer controller, protection for scraper movement, protection when open the cover, various signs and warning identifications.
7.PLC control, touch screen, inverter control, dynamic braking, feedback braking, self- diagnosis of equipment fault, automatic control panel and DCS control interface.
8.Polished internal/external surfaces with roughness up to Ra0.2 ~0.4μm, complying with cGMP.


Optional configurations
1.External construction: big hinged cover, fully hinged cover and flat cover, etc.
2.Feed type: inclined feed disk, side feed and middle feeding.
3.Washing mode: Atomized nozzle rinsing, feed disk washing, pulse type washing
4.Scraper discharge: Pneumatic or hydraulic.
5.Motor drive: Common motor, inverter-duty motor, explosion-proof motor, dynamic braking or feedback braking
6.Safety protection: Nitrogen protection system, explosion and vibration protection, temperature protection, electric - mechanical interlocking, rotation monitoring and overload protection.
7.Surface treatment: Mirror finishing, matt finishing, and dulling.
8.Electric element: Supplied by brand manufacturer.
9.Residual solid cake treatment: Air counter- blowing, and Air blow device on scraper, roller device.
10.Program control: Programmable control, and cake layer controller.
11.CIP system: Cleaning ball and spray pipe.
12.Nitrogen protection system: Automatic nitrogen supply device, oxygen detection device, hydraulic sealing device and gas-liquid separator.
13.Coating treatment: HAL .AR lined or PE lined.

LGZ/PGZTechnical parameters
| Items | Models | |||||
| LGZ/PGZ 800 | LGZ/PGZ 1000 | LGZ/PGZ 1250 | LGZ/PGZ 1500 | LGZ/PGZ 1600 | LGZ/PGZ 1800 | |
| Basket Dia(mm) | 800 | 1000 | 1250 | 1500 | 1600 | 1800 |
| Basket Volume(L) | 100 | 190 | 400 | 600 | 800 | 1000 |
| Max.load(kg) | 135 | 255 | 500 | 700 | 1000 | 1250 |
| Max.Rotating speed(r/min) | 1200 | 1100 | 1000 | 950 | 850 | 800 |
| 分离因数 | 645 | 677 | 700 | 700 | 647 | 645 |
| 电机功率(kw) | 7.5 | 15 | 22 | 30 | 37 | 55 |
| Dimension(LxWxH)(mm) | 1900*1250*1900 | 2100*1500*2250 | 2300*1800*2500 | 2800*2200*2800 | 3000*2200*2900 | 3500*2500*3400 |
| Weight(kg) | 2000 | 3200 | 4200 | 8000 | 10000 | 17000 |